Toyota Avalon (XX50): System Voltage (BATT) Circuit Short to Ground or Open (P056014). Hybrid/EV Powertrain Control Module Processor Watchdog / Safety MCU Failure (P060647,...,P1CE371). Hybrid/EV Powertrain Control Module

Toyota Avalon (XX50) 2019-2022 Service & Repair Manual / Engine / Hybrid / Battery Control / Hybrid Control System / System Voltage (BATT) Circuit Short to Ground or Open (P056014). Hybrid/EV Powertrain Control Module Processor Watchdog / Safety MCU Failure (P060647,...,P1CE371). Hybrid/EV Powertrain Control Module

System Voltage (BATT) Circuit Short to Ground or Open (P056014)

DESCRIPTION

Auxiliary battery power is supplied to the BATT terminal of the hybrid vehicle control ECU in order to store DTCs and freeze frame data. Even if the power switch is turned off, back-up power is supplied.

DTC No.

Detection Item

DTC Detection Condition

Trouble Area

MIL

Warning Indicate

P056014

System Voltage (BATT) Circuit Short to Ground or Open

Malfunction in the hybrid vehicle control ECU back-up power source circuit

(1 trip detection logic)

  • Wire harness or connector
  • Hybrid vehicle control ECU
  • Fuse

Comes on

Master Warning Light:

Comes on

MONITOR DESCRIPTION

If a period of time has elapsed with a low voltage at the BATT terminal of the hybrid vehicle control ECU, the hybrid vehicle control ECU will determine that a malfunction has occurred in the back-up power supply system, and it will store a DTC. The MIL will illuminate the next time the power switch on (IG).

MONITOR STRATEGY

Related DTCs

P0562 (INF P056014): System voltage range check (Low voltage)

Required sensors/components

Main: Back-up power source circuit

Sub: Hybrid vehicle control ECU

Frequency of operation

Continuous

Duration

TMC's intellectual property

MIL operation

Immediately

Sequence of operation

None

TYPICAL ENABLING CONDITIONS

The monitor will run whenever the following DTCs are not stored

TMC's intellectual property

Other conditions belong to TMC's intellectual property

-

TYPICAL MALFUNCTION THRESHOLDS

TMC's intellectual property

-

COMPONENT OPERATING RANGE

Auxiliary battery voltage

Between 9 and 14 V

CONFIRMATION DRIVING PATTERN

HINT:

  • After repair has been completed, clear the DTC and then check that the vehicle has returned to normal by performing the following All Readiness check procedure.

    Click here

  • When clearing the permanent DTCs, refer to the "CLEAR PERMANENT DTC" procedure.

    Click here

  1. Connect the Techstream to the DLC3.
  2. Turn the power switch on (IG) and turn the Techstream on.
  3. Clear the DTCs (even if no DTCs are stored, perform the clear DTC procedure).
  4. Turn the power switch off and wait for 2 minutes or more.
  5. Turn the power switch on (IG) and turn the Techstream on.
  6. With power switch on (IG) and wait for 5 seconds or more. [*1]

    HINT:

    [*1] : Normal judgment procedure.

    The normal judgment procedure is used to complete DTC judgment and also used when clearing permanent DTCs.

  7. Enter the following menus: Powertrain / Hybrid Control / Utility / All Readiness.
  8. Check the DTC judgment result.

    HINT:

    • If the judgment result shows NORMAL, the system is normal.
    • If the judgment result shows ABNORMAL, the system has a malfunction.
    • If the judgment result shows INCOMPLETE or N/A, perform the normal judgment procedure again.

WIRING DIAGRAM

CAUTION / NOTICE / HINT

NOTICE:

After turning the power switch off, waiting time may be required before disconnecting the cable from the negative (-) auxiliary battery terminal. Therefore, make sure to read the disconnecting the cable from the negative (-) auxiliary battery terminal notices before proceeding with work.

Click here

PROCEDURE

1.

CHECK CONNECTOR CONNECTION CONDITION (HYBRID VEHICLE CONTROL ECU CONNECTOR)

(a) Check the connector connections and contact pressure of the relevant terminals for the hybrid vehicle control ECU connectors.

Click here

OK:

The connectors are connected securely and there are no contact pressure problems.

NG

CONNECT SECURELY

OK

2.

CHECK HARNESS AND CONNECTOR (POWER SOURCE OF HYBRID VEHICLE CONTROL ECU)

(a) Turn the power switch off.

(b) Measure the voltage according to the value(s) in the table below.

Standard Voltage:

Tester Connection

Condition

Specified Condition

G47-3 (BATT) - G46-6 (E1)

Power switch off

11 to 14 V

*a

Component with harness connected

(Hybrid Vehicle Control ECU)

OK

REPLACE HYBRID VEHICLE CONTROL ECU

NG

3.

CHECK FUSE (ECU-B NO. 4)

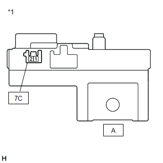
(a) Remove the ECU-B NO. 4 fuse from the fusible link block assembly.

*1

Fusible Link Block Assembly

*2

ECU-B NO. 4 Fuse

(b) Measure the resistance according to the value(s) in the table below.

Standard Resistance:

Tester Connection

Condition

Specified Condition

ECU-B NO. 4 fuse

Always

Below 1 Ω

(c) Reinstall the ECU-B NO. 4 fuse.

NG

REPLACE FUSE (ECU-B NO. 4)

OK

4.

INSPECT FUSIBLE LINK BLOCK ASSEMBLY

(a) Disconnect the cable to the negative (-) auxiliary battery terminal.

(b) Disconnect the cable to the positive (+) auxiliary battery terminal.

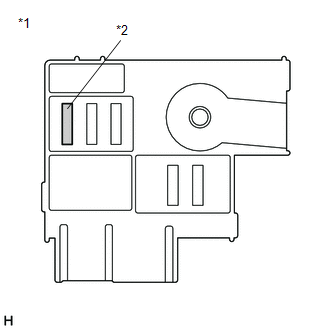
(c) Remove the fusible link block assembly.

*1

Fusible Link Block Assembly

(d) Measure the resistance according to the value(s) in the table below.

Standard Resistance:

Tester Connection

Condition

Specified Condition

A-1 (Positive (+) auxiliary battery terminal) - 7C-2

Always

Below 1 Ω

(e) Reinstall the fusible link block assembly.

(f) Reconnect the cable to the negative (-) auxiliary battery terminal.

(g) Reconnect the cable to the positive (+) auxiliary battery terminal.

NG

REPLACE FUSIBLE LINK BLOCK ASSEMBLY

OK

5.

CHECK HARNESS AND CONNECTOR (FUSIBLE LINK BLOCK ASSEMBLY - HYBRID VEHICLE CONTROL ECU)

(a) Remove the ECU-B NO. 4 fuse from the fusible link block assembly.

(b) Disconnect the G47 hybrid vehicle control ECU connector.

(c) Measure the resistance according to the value(s) in the table below.

*1

Fusible Link Block Assembly

*2

ECU-B NO. 4 Fuse Holder

*a

Rear view of wire harness connector

(to Hybrid Vehicle Control ECU)

-

-

Standard Resistance (Check for Open):

Tester Connection

Condition

Specified Condition

2 (ECU-B NO. 4 fuse holder) - G47-3 (BATT)

Power switch off

Below 1 Ω

Standard Resistance (Check for Short):

Tester Connection

Condition

Specified Condition

2 (ECU-B NO. 4 fuse) or G47-3 (BATT) - Body ground and other terminals

Power switch off

10 kΩ or higher

(d) Reconnect the G47 hybrid vehicle control ECU connector.

(e) Reinstall the ECU-B NO. 4 fuse.

OK

REPLACE HYBRID VEHICLE CONTROL ECU

NG

REPAIR OR REPLACE HARNESS OR CONNECTOR

Hybrid/EV Powertrain Control Module Processor Watchdog / Safety MCU Failure (P060647,...,P1CE371)

DESCRIPTION

The hybrid vehicle control ECU monitors its internal operation and will store these DTCs when it detects an internal malfunction. If these DTCs are output, replace the hybrid vehicle control ECU.

DTC No.

Detection Item

DTC Detection Condition

Trouble Area

MIL

Warning Indicate

P060647

Hybrid/EV Powertrain Control Module Processor Watchdog / Safety MCU Failure

ECU internal malfunction

(HV-CPU error)

(1 trip detection logic)

Hybrid vehicle control ECU

Comes on

Master Warning Light:

Comes on

P060687

Hybrid/EV Powertrain Control Module Processor to Monitoring Processor Missing Message

ECU internal malfunction

(Communication error (main to sub CPU))

(1 trip detection logic)

Hybrid vehicle control ECU

Comes on

Master Warning Light:

Comes on

P060A29

Hybrid/EV Powertrain Control Module Monitoring Processor Signal Invalid

ECU internal malfunction

(Sub CPU circuit error)

(1 trip detection logic)

Hybrid vehicle control ECU

Comes on

Master Warning Light:

Comes on

P060A44

Hybrid/EV Powertrain Control Module Monitoring Processor Data Memory Failure

ECU internal malfunction

(Sub CPU RAM error)

(1 trip detection logic)

Hybrid vehicle control ECU

Comes on

Master Warning Light:

Comes on

P060A45

Hybrid/EV Powertrain Control Module Monitoring Processor Program Memory Failure

ECU internal malfunction

(Sub CPU ROM error)

(1 trip detection logic)

Hybrid vehicle control ECU

Comes on

Master Warning Light:

Comes on

P060A47

Hybrid/EV Powertrain Control Module Monitoring Processor Watchdog / Safety MCU Failure

ECU internal malfunction

(Sub CPU WDC error)

(1 trip detection logic)

Hybrid vehicle control ECU

Comes on

Master Warning Light:

Comes on

P060A49

Hybrid/EV Powertrain Control Module Monitoring Processor Internal Electronic Failure

ECU internal malfunction

(Sub CPU calculation check error)

(1 trip detection logic)

Hybrid vehicle control ECU

Comes on

Master Warning Light:

Comes on

P060A87

Hybrid/EV Powertrain Control Module Processor from Monitoring Processor Missing Message

ECU internal malfunction

(Communication error (sub to main CPU))

(1 trip detection logic)

Hybrid vehicle control ECU

Comes on

Master Warning Light:

Comes on

P060B1C

Hybrid/EV Powertrain Control Module A/D Processing Voltage Out of Range

ECU internal malfunction

(AD conversion error)

(1 trip detection logic)

Hybrid vehicle control ECU

Comes on

Master Warning Light:

Comes on

P060B49

Hybrid/EV Powertrain Control Module A/D Processing Internal Electronic Failure

ECU internal malfunction

(AD timeout error)

(1 trip detection logic)

Hybrid vehicle control ECU

Comes on

Master Warning Light:

Comes on

P060B71

Hybrid/EV Powertrain Control Module A/D Processing Actuator Stuck

ECU internal malfunction

(AD multiplexer error)

(1 trip detection logic)

Hybrid vehicle control ECU

Comes on

Master Warning Light:

Comes on

P1C9E9F

Hybrid/EV System Reset Stuck Off

ECU internal malfunction

(Primary check error)

(1 trip detection logic)

Hybrid vehicle control ECU

Comes on

Master Warning Light:

Comes on

P1CE31C

Hybrid/EV Powertrain Control Module Monitoring Processor A/D Processing Voltage Out of Range

ECU internal malfunction

(Sub CPU AD conversion error)

(1 trip detection logic)

Hybrid vehicle control ECU

Comes on

Master Warning Light:

Comes on

P1CE349

Hybrid/EV Powertrain Control Module Monitoring Processor A/D Processing Internal Electronic Failure

ECU internal malfunction

(Sub CPU AD timeout error)

(1 trip detection logic)

Hybrid vehicle control ECU

Comes on

Master Warning Light:

Comes on

P1CE371

Hybrid/EV Powertrain Control Module Monitoring Processor A/D Processing Actuator Stuck

ECU internal malfunction

(Sub CPU AD multiplexer error)

(1 trip detection logic)

Hybrid vehicle control ECU

Comes on

Master Warning Light:

Comes on

MONITOR DESCRIPTION

The hybrid vehicle control ECU performs diagnostic tests to verify proper operation of internal ECU systems. If there is an internal ECU malfunction, the hybrid vehicle control ECU will illuminate the MIL and store a DTC.

MONITOR STRATEGY

Related DTCs

P0606 (INF P060647): Control module processor performance

P0606 (INF P060687): Control module processor verify communication

P060A (INF P060A29/P060A44/P060A45/P060A47/P060A49): Internal control module monitoring processor performance

P060A (INF P060A87): Internal control module monitoring processor verify communication

P060B (INF P060B1C/P060B49/P060B71): Internal control module A/D processing performance

P1C9E (INF P1C9E9F): Control module processor restart

P1CE3 (INF P1CE31C/P1CE349/P1CE371): Internal control module monitoring processor A/D processing performance

Required sensors/components

Hybrid vehicle control ECU

Frequency of operation

Continuous

Duration

TMC's intellectual property

MIL operation

Immediately / 1 driving cycle

Sequence of operation

None

TYPICAL ENABLING CONDITIONS

The monitor will run whenever the following DTCs are not stored

TMC's intellectual property

Other conditions belong to TMC's intellectual property

-

TYPICAL MALFUNCTION THRESHOLDS

TMC's intellectual property

-

COMPONENT OPERATING RANGE

Hybrid vehicle control ECU

DTC P0606 (INF P060647/P060687) is not detected

DTC P060A (INF P060A29/P060A44/P060A45/P060A47/P060A49/P060A87) is not detected

DTC P060B (INF P060B1C/P060B49/P060B71) is not detected

DTC P1C9E (INF P1C9E9F) is not detected

DTC P1CE3 (INF P1CE31C/P1CE349/P1CE371) is not detected

CONFIRMATION DRIVING PATTERN

HINT:

  • After repair has been completed, clear the DTC and then check that the vehicle has returned to normal by performing the following All Readiness check procedure.

    Click here

  • When clearing the permanent DTCs, refer to the "CLEAR PERMANENT DTC" procedure.

    Click here

  1. Connect the Techstream to the DLC3.
  2. Turn the power switch on (IG) and turn the Techstream on.
  3. Clear the DTCs (even if no DTCs are stored, perform the clear DTC procedure).
  4. Turn the power switch off and wait for 2 minutes or more.
  5. Turn the power switch on (IG) and turn the Techstream on.
  6. With power switch on (IG) and wait for 15 seconds or more. [*1]

    HINT:

    [*1] : Normal judgment procedure.

    The normal judgment procedure is used to complete DTC judgment and also used when clearing permanent DTCs.

  7. Enter the following menus: Powertrain / Hybrid Control / Utility / All Readiness.
  8. Check the DTC judgment result.

    HINT:

    • If the judgment result shows NORMAL, the system is normal.
    • If the judgment result shows ABNORMAL, the system has a malfunction.
    • If the judgment result shows INCOMPLETE or N/A, perform the normal judgment procedure again.

PROCEDURE

1.

REPLACE HYBRID VEHICLE CONTROL ECU

Click here

NEXT

END

Hybrid/EV Powertrain Control Module Processor Unexpected Operation (P060694)

DTC SUMMARY

MALFUNCTION DESCRIPTION

The main CPU and sub CPU of the Hybrid vehicle control ECU monitor each other.

The cause of this malfunction may be the following:

Hybrid vehicle control ECU internal malfunction
  • Hybrid vehicle control ECU malfunction

DESCRIPTION

The hybrid vehicle control ECU monitors its internal operation and will store these DTCs when it detects an internal malfunction.

DTC No.

Detection Item

DTC Detection Condition

Trouble Area

MIL

Warning Indicate

P060694

Hybrid/EV Powertrain Control Module Processor Unexpected Operation

The main CPU value received by the sub CPU of the hybrid vehicle control ECU exceeds the threshold for a certain period of time.

(1 trip detection logic)

Hybrid vehicle control ECU

Comes on

Master Warning Light:

Comes on

MONITOR DESCRIPTION

The hybrid vehicle control ECU monitors its internal operation. If the internal operation is malfunctioning, the hybrid vehicle control ECU illuminates the MIL and stores a DTC.

MONITOR STRATEGY

Related DTCs

P0606 (INF P060694): Control module processor

Required sensors/components

Hybrid vehicle control ECU

Frequency of operation

Continuous

Duration

TMC's intellectual property

MIL operation

1 driving cycle

Sequence of operation

None

TYPICAL ENABLING CONDITIONS

The monitor will run whenever the following DTCs are not stored

TMC's intellectual property

Other conditions belong to TMC's intellectual property

-

TYPICAL MALFUNCTION THRESHOLDS

TMC's intellectual property

-

COMPONENT OPERATING RANGE

Hybrid vehicle control ECU

DTC P0606 (INF P060694) is not detected

CONFIRMATION DRIVING PATTERN

HINT:

  • After repair has been completed, clear the DTC and then check that the vehicle has returned to normal by performing the following All Readiness check procedure.

    Click here

  • When clearing the permanent DTCs, refer to the "CLEAR PERMANENT DTC" procedure.

    Click here

  1. Connect the Techstream to the DLC3.
  2. Turn the power switch on (IG) and turn the Techstream on.
  3. Clear the DTCs (even if no DTCs are stored, perform the clear DTC procedure).
  4. Turn the power switch off and wait for 2 minutes or more.
  5. Turn the power switch on (IG) and turn the Techstream on.
  6. Turn the power switch on (READY) and wait for 10 seconds or more. [*1]

    HINT:

    [*1] : Normal judgment procedure.

    The normal judgment procedure is used to complete DTC judgment and also used when clearing permanent DTCs.

  7. Enter the following menus: Powertrain / Hybrid Control / Utility / All Readiness.
  8. Check the DTC judgment result.

    HINT:

    • If the judgment result shows NORMAL, the system is normal.
    • If the judgment result shows ABNORMAL, the system has a malfunction.
    • If the judgment result shows INCOMPLETE or N/A, perform the normal judgment procedure again.

PROCEDURE

1.

CHECK DTC OUTPUT (HYBRID CONTROL)

(a) Connect the Techstream to the DLC3.

(b) Turn the power switch on (IG).

(c) Enter the following menus: Powertrain / Hybrid Control / Trouble Codes.

(d) Check for DTCs.

Powertrain > Hybrid Control > Trouble Codes

Result

Proceed to

P060694 only is output.

A

DTCs except P060694 are output.

B

(e) Turn the power switch off.

A

REPLACE HYBRID VEHICLE CONTROL ECU

B

GO TO DTC CHART (HYBRID CONTROL SYSTEM)

Motor/Generator Shutdown Signal Stuck Off (P321E9F). ECM/PCM Power Relay Sense Circuit Intermittent (P06881F). Hybrid/EV Battery Control System Over Temperature (P30004B)

Transmission Range Sensor "A" Circuit (PRNDL Input) Signal Compare Failure (P070562)

See More:

Toyota Avalon (XX50) 2019-2022 Owners Manual > Maintenance: General maintenance
Listed below are the general maintenance items that should be performed at the intervals specified in the "Owner's Warranty Information Booklet" or "Owner's Manual Supplement/Scheduled Maintenance Guide". It is recommended that any problem you notice should be brought to the attention of your Toyot ...

Toyota Avalon (XX50) 2019-2022 Service & Repair Manual

© 2026 Copyright engine.tavalon.net
0.1395